42 lawn chief riding mower belt diagram
Illustrated Parts Diagrams by Manufacturer. We have a large selection of illustrated parts diagrams to help you find the part you need. If you don't see the parts diagram your need or just can find the part you are looking for please complete our Parts Help Request Form and we will be happy to assist you. Briggs and Stratton Parts Diagrams. By ordering Lawn Chief parts online at our website, you can rest assured knowing that you get 100% genuine Lawn Chief accessories and Lawn Chief parts that are professionally designed and engineered. Using original lawn mower parts will prolong the operational life of your garden equipment as well as ensure its smooth performance over time.
If while performing lawn mower maintenance on your drive belts, you noticed other issues or signs of wear, take the time to order replacement lawn tractor parts ...

Lawn chief riding mower belt diagram
Visit Website: http://tinyurl.com/deck-belt-diagramsDeck belt routing diagrams for Craftsman, MTD, Yard Man, all brands of riding mowers and lawn tractors.Vi... Manufacturer List >>> Lawn Chief Belt Sizes. Enter your OEM Belt Part Number for replacement pricing and availablitiy. Click to Search VBeltSupply.com for Replacement Belt. Lawn Chief Edger Belts ... Blade Hi wheel mower(5/8"x40") Lawn Chief Tiller Belts Model: OEM Part: Application - Dimensions: 5-66 107-37 Forward and reverse(1/2"x31") H45/4 1128 Lawn Chief repair parts and parts diagrams for Lawn Chief 13BG698H022 - Lawn Chief Lawn Tractor (1999) (Cotter & Company)
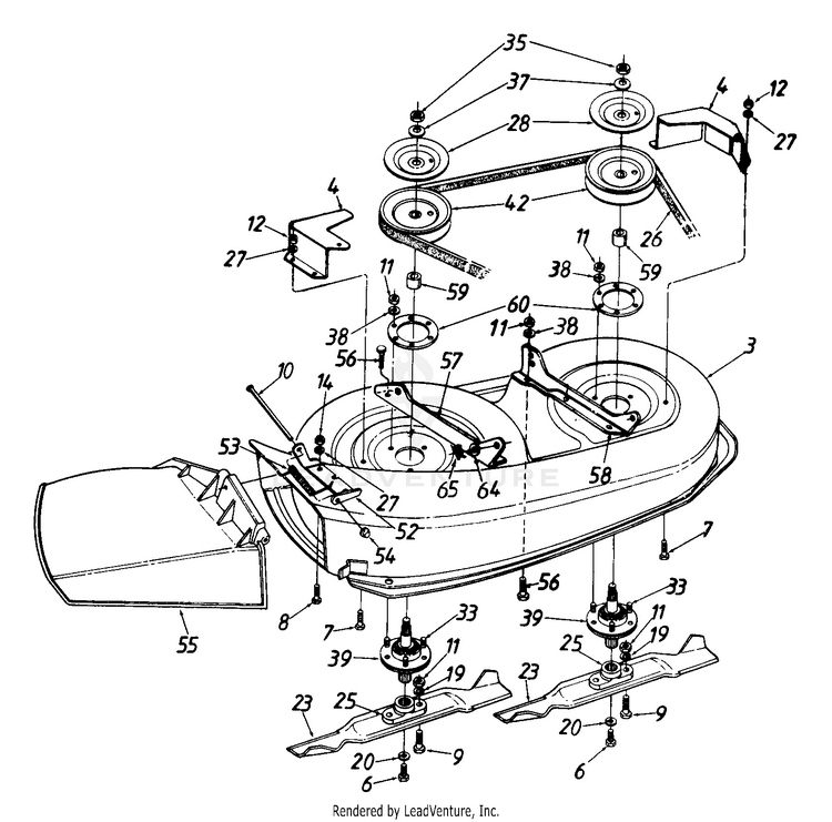
Lawn chief riding mower belt diagram. LAWN CHIEF Parts Catalog. Lawn Mower Parts · Lawn Mower Parts Spindle Assemblies. a Message. 877-277-4512. Support will respond within 24 hours. Original 1977 Lawn Chief Master Parts Manual 18†- 36†Rotary & Riding Mowers Product Details: – Format: Soft Cover – Binding: 5-Ring – Title: 1977 Lawn Chief . LAWN CHIEF *MTD Legacy 1985-2005 Exploded View parts lookup by model. Complete exploded views of all the major manufacturers. It is EASY and FREE Unsolved problems for lawn chief belt diagrams question. Get free help, tips & support from top experts on lawn chief belt diagrams related issues. Search Fixya ... Riding lawn mower lawn chief 12/39 mower cable. Read full answer. Be the first to answer Aug 05, 2013 • Garden. Transmission belt routing chart. Note that idler pulley # 21 is a "Flat Idler" and # 22 is a "Grooved Idler". When. pulley. Also note that the belt should NEVER be so long that it touches itself like it seems to be doing around idler #. 21 in the picture. Also be careful to route your belt INSIDE the metal guides (# 13 & # 17) when installing ...
LAWN CHIEF Exploded View parts lookup by model. Complete exploded views of all the major manufacturers. ... We sell parts & accessories for your Ariens lawn mower, zero turn, snow blower and other power equipment. ... LAWN CHIEF Parts Diagrams *MTD Legacy 1985-2005. Black Max. Bolens. Brute. Click Link. Columbia. CORE. County Line. Lawn Chief Riding Mowers ( 56 Models ) 136B560B022 - Lawn Chief Lawn Tractor (1996) (Cotter & Company) 136B560B722 - Lawn Chief Lawn Tractor (1996) (Cotter & Company) 136E450E022 - Lawn Chief Lawn Tractor (1996) (Cotter & Company) Lawn Chief repair parts and parts diagrams for Lawn Chief 13BG698H022 - Lawn Chief Lawn Tractor (1999) (Cotter & Company) Manufacturer List >>> Lawn Chief Belt Sizes. Enter your OEM Belt Part Number for replacement pricing and availablitiy. Click to Search VBeltSupply.com for Replacement Belt. Lawn Chief Edger Belts ... Blade Hi wheel mower(5/8"x40") Lawn Chief Tiller Belts Model: OEM Part: Application - Dimensions: 5-66 107-37 Forward and reverse(1/2"x31") H45/4 1128
Visit Website: http://tinyurl.com/deck-belt-diagramsDeck belt routing diagrams for Craftsman, MTD, Yard Man, all brands of riding mowers and lawn tractors.Vi...
Comments
Post a Comment